Где находиться номер рамы скания

Где находиться номер рамы скания Это был интересный опыт - УАЗ 3303, 2,4 л, 1993 года своими руками DRIVE2
Где находиться номер рамы скания
Где находиться номер рамы скания Купить Кронштейн электропроводки рамы Scania P, R, G 109112218037 в Москве БигТр
Это был интересный опыт - УАЗ 3303, 2,4 л, 1993 года своими руками DRIVE2
Где находиться номер рамы скания Нарешті у нас є номера кузова і рами - ГАЗ 69, 2,4 л, 1959 года техосмотр DRIVE2
Купить Кронштейн электропроводки рамы Scania P, R, G 109112218037 в Москве БигТр
Где находиться номер рамы скания Где на уазике номер рамы
Нарешті у нас є номера кузова і рами - ГАЗ 69, 2,4 л, 1959 года техосмотр DRIVE2
Где находиться номер рамы скания Foto ГДЕ НАБИТ НОМЕР
Где на уазике номер рамы
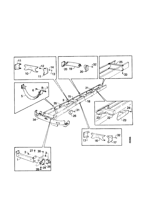
Где находиться номер рамы скания Каталог оригинальных запчастей SCANIA
Foto ГДЕ НАБИТ НОМЕР
Где находиться номер рамы скания Купить Кронштейн электропроводки рамы Scania P, R, G 107062218060 в Москве БигТр
Каталог оригинальных запчастей SCANIA
Где находиться номер рамы скания Купить Кронштейн электропроводки рамы Scania P, R, G 101082218007 в Москве БигТр
Купить Кронштейн электропроводки рамы Scania P, R, G 107062218060 в Москве БигТр
Где находиться номер рамы скания Замена половины рамы Скания часть 2 - YouTube
Купить Кронштейн электропроводки рамы Scania P, R, G 101082218007 в Москве БигТр
Где находиться номер рамы скания Где номер двигателя скания
Замена половины рамы Скания часть 2 - YouTube
Где находиться номер рамы скания УАЗ нашел замену "русскому Прадо"
Где номер двигателя скания
Где находиться номер рамы скания Попытка постановки на учет № 1 и № 2 - УАЗ 3303, 2,7 л, 1992 года техосмотр DRIV
УАЗ нашел замену "русскому Прадо"
Где находиться номер рамы скания Номер рамы тагаз тагер где находится - фото - АвтоМастер Инфо
Попытка постановки на учет № 1 и № 2 - УАЗ 3303, 2,7 л, 1992 года техосмотр DRIV
Где находиться номер рамы скания Помогите ! Номер кузова ??? - Клуб любителей микроавтобусов и минивэнов
Номер рамы тагаз тагер где находится - фото - АвтоМастер Инфо
Где находиться номер рамы скания Где находится номер рамы рено магнум
Помогите ! Номер кузова ??? - Клуб любителей микроавтобусов и минивэнов
Где находиться номер рамы скания Где вин скания
Где находится номер рамы рено магнум
Где находиться номер рамы скания БУ запчасти для европейских грузовиков Scania (Скания), Volvo (Вольво), MAN (Ман
Где вин скания
Где находиться номер рамы скания Не нашли табличку с VIN - Клуб любителей микроавтобусов и минивэнов
БУ запчасти для европейских грузовиков Scania (Скания), Volvo (Вольво), MAN (Ман
Где находиться номер рамы скания Газель Бизнес Diesel ГАЗ-3302, ГАЗ-2705, ГАЗ-3221 с Cummins ISF2.8
Не нашли табличку с VIN - Клуб любителей микроавтобусов и минивэнов
Где находиться номер рамы скания Где находится номер шасси на газ 3307 Life-Shina.ru
Газель Бизнес Diesel ГАЗ-3302, ГАЗ-2705, ГАЗ-3221 с Cummins ISF2.8
Где находиться номер рамы скания Маз зубренок номер рамы где находится - фото - АвтоМастер Инфо
Где находится номер шасси на газ 3307 Life-Shina.ru
Где находиться номер рамы скания Vin volvo truck LkbAuto.ru
Маз зубренок номер рамы где находится - фото - АвтоМастер Инфо
Где находиться номер рамы скания Купить б/у Scania P-series дизель механика в Челябинске: пурпурный самосвал 2011
Vin volvo truck LkbAuto.ru
Где находиться номер рамы скания Фото подборка СКАНИЯ НОМЕР ДВИГАТЕЛЯ ГДЕ НАХОДИТСЯ
Купить б/у Scania P-series дизель механика в Челябинске: пурпурный самосвал 2011
Где находиться номер рамы скания Где находится номер рамы на рено магнум - 82 фото
Фото подборка СКАНИЯ НОМЕР ДВИГАТЕЛЯ ГДЕ НАХОДИТСЯ
Где находиться номер рамы скания Где находится ман тга
Где находится номер рамы на рено магнум - 82 фото
Где находиться номер рамы скания VIN код VOLVO - Автозапчасти и автоХитрости
Где находится ман тга
Где находиться номер рамы скания Как просверлить раму на КАМАЗе
VIN код VOLVO - Автозапчасти и автоХитрости
Где находиться номер рамы скания Ремонт рамы - Mercedes-Benz T1, 9,9 л, 2003 года поломка DRIVE2
Как просверлить раму на КАМАЗе
Где находиться номер рамы скания Подскажите - ГАЗ Газель, 2,9 л, 2001 года наблюдение DRIVE2
Ремонт рамы - Mercedes-Benz T1, 9,9 л, 2003 года поломка DRIVE2
Где находиться номер рамы скания 1798014 Поперечина рамы Scania - купить по доступным ценам Дельфин
Подскажите - ГАЗ Газель, 2,9 л, 2001 года наблюдение DRIVE2
Где находиться номер рамы скания номера на дверь - Маникюр и педикюр в Москве Услуги на Авито
1798014 Поперечина рамы Scania - купить по доступным ценам Дельфин
Где находиться номер рамы скания Мастерская alhimena в контейнере 20-фут. - Страница 29 - Стройка и ремонт
номера на дверь - Маникюр и педикюр в Москве Услуги на Авито
Где находиться номер рамы скания Купить инструкцию по эксплуатации Iveco Stralis Ивеко Стралис
Мастерская alhimena в контейнере 20-фут. - Страница 29 - Стройка и ремонт
Где находиться номер рамы скания MAN MAN TGS 19.400
Купить инструкцию по эксплуатации Iveco Stralis Ивеко Стралис
Где находиться номер рамы скания Установка двигателя Д-240 на автомобиль ЗИЛ или ГАЗ. Часть 2 Автомобильная техни
MAN MAN TGS 19.400
Где находиться номер рамы скания Где находится номер на раме ивеко еврокарго 1996 г?" - Яндекс Кью
Установка двигателя Д-240 на автомобиль ЗИЛ или ГАЗ. Часть 2 Автомобильная техни
Где находиться номер рамы скания МЕЖДУНАРОДНЫЙ КЛУБ LAND ROVER Русская версия Invision Power Board
Где находится номер на раме ивеко еврокарго 1996 г?" - Яндекс Кью
Где находиться номер рамы скания Scania Scania G400
МЕЖДУНАРОДНЫЙ КЛУБ LAND ROVER Русская версия Invision Power Board
Где находиться номер рамы скания рама скания - Машины, мотоциклы, грузовики - купить новые и бу автомобили, запча
Scania Scania G400